Valvola di scarico Geberit, salvaspazio, versione stretta, con tappo esterno della valvola di scarico con azionamento a leva
Scopo d’uso
- per lavabi con troppopieno
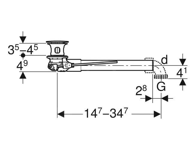
- per lavabi con uno spessore del materiale di 40-45 mm nella zona della valvola di scarico
- per l’installazione salvaspazio di lavabi con mobiletto senza foro per la chiusura anti-odori
- per un’installazione salvaspazio
Caratteristiche
- materiale: ottone cromato/plastica
- versione: cromato lucido
- valvola di arresto, d Ø 32 mm, G 1 1/4″
- azionamento tramite tiranti
- lunghezza regolabile secondo il lavabo
- con filtro per capelli integrato
- valvola di scarico igienica con flusso ottimale
- controllo della qualità ai sensi della norma EN 274-3
La fornitura include
- valvola di scarico
- gomito di collegamento 90° in PP, G 1 1/4”
- tappo esterno della valvola di scarico
- tirante di azionamento
- valvola del lavabo
Al fine di salvaguardare il prodotto da eventuali danni in fase di spedizione, lo stesso potrebbe essere consegnato senza l’imballaggio originale.















Recensioni
Ancora non ci sono recensioni.